Cross Support CFB HCP




Application
The Cross support CFB is a shear force stabilizer for Sikla Cantilever Brackets 41. The Cross Support intakes shear forces specially the force caused due to length expansion on piping with warm applications. Using the Cross Support CFB can increase the capability of handling higher shear forces.
Scope of delivery
Type CFB 41 including mounting set with:
2 x Channel Nut NT 41-M10 with pre-mounted Threaded Stud GST HCP
1 x Washer US 10/125 HCP
2 x Hexagon Nut NT M10 HCP
Installation
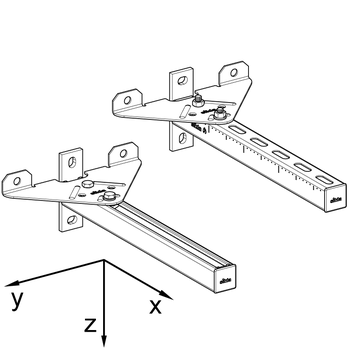
CFB CC41 for mounting on the channel slot:
The CC-Connector is already pre-mounted on the cross support. After inserting inside the channel slot with a light press the CC-Threaded Plate will move to the right and a clicking sound will be heard. The de-installation of the CC-Connector will success be reversing the above instructions. The cross support must be well inserted and the screws must be fully fixed.
CFB 41 for mounting on the rear of the Cantilever Bracket:
The Crosss Support will be mounted using the enclosed connecting elements on the Cantilever Bracket. The Washer must be mounted to the front screw hole on the Cross support CFB.
As an Option the Cross support can be mounted using 2 anchors to a wall (in order to increase the capability of handling higher shear forces). The Anchors are to be ordered separately.
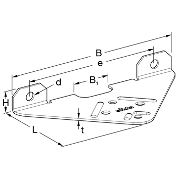
Technical Data
Type | L [mm] | B [mm] | B1 [mm] | H [mm] | t [mm] | e [mm] | d [mm] |
---|---|---|---|---|---|---|---|
Plate CFB | 135 | 260 | 56 | 33 | 3 | 205 | 13 |
Cantilever Bracket AK 41*
Type | with anchors | without anchors |
---|---|---|
41/41 | Vy = 1,36 kN Mz = 0,24 kNm | Vy = 0,99 kN Mz = 0,15 kNm |
* Usability value (a safety value of 2,0 was considered)
Material: | Steel, HCP |