Choose your country
Go to your local Sikla page and discover offers for your country or sales region:
Country


Group: 1102
Part number 110304
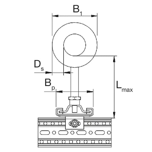
Assembly group for use as a guided support with insulated Chilled Water Clamp RB for chiller plants and cool water systems
Designed for use with Beam Section TP F 80, connected via Self Forming Screw FLS F
Height adjustment via Threaded Tube 1/2'

B1 | 120 mm |
BP | 102 mm |
DS1 | 30 mm |
Lmax | 200 mm |
Each Assembly Group is pre-assembled, packed and labeled.
Parts list:
Item 1 Chilled Water Clamp RB
Assembly Kit MKit FR F 80 S 1/2" consists of:
Item 2 Threaded Tube GR 1/2" x 200
Item 3 Locking Nut NT 1/2"
Item 4 Slide Set GS F80 1G
Item 5 Self Forming Screw FLS F
Max. temperature | 105 °C |
Min. temperature | -50 °C |
Thermal conductivity λ {0°C} | λ 0,045 W/Mk |
Fire Performance | Class B2 according to DIN 4102 |
Bulk density | 250,00 kg/m³ |
Water vapour diffusion resistance factor | µ 1200 |
Primary element material | steel |
Isolating element material | PUR |
Connecting element material | steel |
Surface finish | HCP |
Corrosion protection class | C4 |
Certification

The assembly of the individual components to form an Assembly Group is carried out during the course of pipe installation on the construction site.
L(max, horizontal) = not recommended