Choose your country
Go to your local Sikla page and discover offers for your country or sales region:
Country
F 80 -Stabil 1"


Group: 1227
Part number 451282
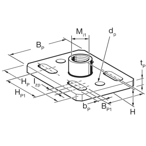
Adapter plate for installing pipe clamps to Beam Section TP F80 or Channel System using threaded tube 1/2'

BP | 80 mm |
bP | 11 mm |
BP1 | 50 mm |
dP | 11 mm |
HP | 110 mm |
HP1 | 60 mm |
IZP | 20 mm |
Mi1 | 1" |
tP | 8 mm |
-VX,perm. | 13,00 kN |
VX,perm. | 13,00 kN |
-VY,perm. | 13,00 kN |
VY,perm. | 13,00 kN |
-VZ,perm. | 18,00 kN |
Permissible bending moment Mb,perm. | 277 Nm |
The threaded pipe used is decisive for the permissible bending moment. Other influences from the fastening (anchor) must be taken into account.
Primary element material | steel |
Surface finish | electro galvanized (Fe//Zn) |
Corrosion protection class | C2 |
Certification

Type ST: Requires 4 x Self Forming Screw FLS per Mounting Plate GPL. Connection to the channel system with CC 41 threaded plate and hexagon screws. The base plate is also suitable for concrete connections thanks to the two holes.